Would the Russian flying saucer actually work? | EKIP Part 4

Aviation History ekip_patent_picture.png
EKIP patent picture

Through the 80s and 90s, Lev Nikolayevich Schukin and his team of engineers tried to develop and sell an aircraft with, according to its developers, some quite remarkable properties. They did not have a success, although in subsequent years, the claims about their creation proliferated. 

Schukin died in 2001. The EKIP aviation concern filed for bankruptcy in 2002. NAVAIR – the US Navy research agency which offered the team some support – lost all interest in 2005. After that, nobody took the project very seriously, and most Russian journalists reporting on the subject talked about the development of the aircraft not in the present, but in the past tense. 

There was a small collection of hardcore enthusiasts who did not lose hope, though. Several of Schukin’s colleagues – Anatoly Savitsky, Eduard Isaev, Aleksei Kuznetsov, and a couple of others – were still gladly explaining to local news crews how, in several years, Boeing would start manufacturing EKIP knock-offs and Russia would have no other choice but to buy them.  

But they would not stop trying to prevent that. There was no chance to get the investment needed, so, the only possibility was to raise money by other means. Various schemes were tried. 

Losing the touch 

In 1999, the first website of the EKIP aviation concern was created. It was the perfect slice of early Internet weirdness: from advice on how to “earn a lot of money quickly” to primitive interactive text-based games to a section named “The meaning of life”. Sadly, the Internet Archive did not preserve the contents of that section, but it was most likely – just as the rest of the site – filled with lengthy, barely coherent texts on esoteric topics and low-resolution images with fantasy landscapes.  

The website, allegedly, belonged to the special fund established by the EKIP team and intended to promote… something. They were supposedly organizing a “Contest of wonderful ideas”, funding local talents, bringing Western investors into Russia, and all the while preparing the World for the appearance of the flying saucer – the transport of the future. A very small part of the website’s contents was actually about the EKIP and it is indicative of the desperation the team was feeling. 

They tried to turn the development into a New Age movement, centered on the conjunction of cutting-edge scientific ideas and some sort of spiritual awakening. It did not work. By 2010, the website of the EKIP fund got completely overrun with pseudo-scientific articles, mostly about the (long-discredited) idea of Neuro-linguistic programming, which was very fashionable in Russia at the time. 

Another, more pragmatic approach was tried too. In 2003, Savitsky – the head of EKIP aviation concern after Schiukin’s death – began reorganizing what was left of the firm into a company focused on various sustainability-related solutions: converting tractors to run on methane, designing solar batteries, building thermal power plants.  

He created “Gasmotor EKIP”, then – “Scientific-production firm EKIP”, then – “Research and production company of gas motors EKIP”, and so on. In all of them, other engineers from Schiukin’s old team were involved. Some of those companies went as far as actually selling some equipment. Yet, most of them went bankrupt several years after creation. 

At the same time, Savitsky was touring poorer Russian regions with offers to turn them into economic powerhouses. He was trying to sell biodiesel production plants, geothermal power stations, wind farms, and similar projects on a scale that would supposedly transform the economic outlook of an entire region. It doesn’t look like his attempts were successful. 

The presence of the flying saucer was constantly there though. In the company’s promotional material, all the sprawling industrial complexes had airfields with the recognizable shape of the EKIP parked there. In the press, Savitsky was describing himself first and foremost as one of the designers of the futuristic aircraft, hoping to bring a better future on the wings of his creation. He liked to talk about incredible inventions of his colleagues a lot: a ship that would use the power of ocean waves to move forward; an engine that would collect humidity from the air and use it for fuel; and of course – the incredible EKIP.  

That was the time when descriptions of the aircraft strayed the farthest from reality, much more than they did in interviews the engineer gave to Western TV crews in the late 90s. Now the EKIP would supposedly cost eight times less to operate than any other aircraft, run on pure water, and be nearly indestructible. With time, optimism to achieve all of this in his lifetime shifted to simply hoping that future generations would recognize his work someday. “The idea… I believe that it will be implemented. If not me, then maybe somebody else will take it over. Somebody else will continue this song,” he said in one of his interviews.  

It is quite obvious that, at least in the early years after the collapse of the EKIP Aviation Concern, the hope to gather money for the development of the aircraft drove all of Savitsky’s endeavors. Later, at least spreading the word about the project became more of a priority. Even if the EKIP itself lost its concrete form and became a sort of myth in the process. 

As for early 2021, Savitsky’s last company, registered in 2016, is still officially not bankrupt. Its website was not updated since 2016 though, and the e-mail service no longer works. 

Back to reality 

With all due respect to engineers who poured their hearth to make their project attractive, we have to look at it critically. Examining the claims made by the team behind the EKIP and finding out if they are true is a difficult, but, in fact, possible task. Especially now. 

On the surface, those claims were, as explained in the first part of this series, fairly simple. The aircraft will be roughly in the shape of a flying wing. It will have an air cushion instead of a landing gear. It will have a sophisticated computerized control system to overcome the inherent instability of the airframe. It will have a turbofan engine that is incredibly efficient and can run on an array of different fuels. It will have a boundary layer control system that will prevent airflow separation and negate much of the drag.  

As a result of low landing speed and an air cushion, the aircraft will be essentially crash-proof. As a result of its shape, boundary layer control system and new engines, it will be much more efficient and much more ecology-friendly than regular aircraft. Its internal space will be also much larger than that of regular airplanes. 

The efficiency claims vary widely, from being at least on par with early 21st century jets, to using 20 to 50 percent less fuel than any other aircraft, to forgoing conventional fuels altogether – running on water, aquazine, natural gas or some other substance, or at least using negligible (up to just 20% in comparison with regular airplanes) amounts of jet fuel.  

Some of those claims are closely intertwined, others not so. Some of them are hugely exaggerated, others not so. Let’s unpack them one by one.  

Engines, computers and a cushion 

Fantastic properties of EKIP’s engines, as explained above, should be discarded as an exaggeration made at very late stages of the project, mostly due to the desperation of project’s participants. After all, most factual descriptions of the EKIP list all of the models as using regular engines, and attaining impressive, but not impossibly small fuel consumption with them.  

An exception would be Kuznetsov’s promised multi-fuel engines promised in the early 90s, but they never came, and it is likely, for most of the project’s life nobody expected them to come. All the models, promoted in 1991, were described with regular, mass-produced engines, such as the Progress D-436. By 2001, multi-fuel capability was completely dropped from published claims about the aircraft, although the EKIP was still mostly described as running on natural gas. The L2-1 large-scale prototype was equipped with regular Pratt & Whitney Canada PW305A turbofans though, and the models list from 2001 describes all EKIPs as equipped with conventional jet engines, made by Pratt & Whitney or Ivchenko-Progress.  

So, the exotic features of aircraft’s propulsion were just an addition, not intertwined with its other properties. The exceptional safety, on the other hand, was intertwined. It was a feature of a low landing speed and an air cushion. The first component falls victim to the same argument as most of the super-safe aircraft ideas, like the Burnelli lifting fuselage: any kind of aircraft can be made to have low landing speed, purely by increasing its wing area. A tradeoff to that is lower speed and higher fuel consumption.  

If such a sacrifice is accepted, the addition of an air cushion is a completely plausible idea. Starting from the 70s, there were a lot of experiments – both in the US and in the Soviet Union – of mounting air cushion on transport aircraft. While the experiments were successful, the idea was, for the most part, deemed uneconomic. If the efficiency of such an aircraft can be increased – for example, by having a dual-purpose auxiliary engine, or a shape more suitable for a cushion, or a design of a cushion that would be more aerodynamic – the idea could see a comeback. EKIP’s air cushion was supposed to be partially foldable, and while it was never tested, nothing about it strikes as particularly unreasonable.  

As for the computerized control system, such a thing is a given in all modern aircraft. First flights of EKIP scale models were wobbly due to system’s imperfections. But by the mid-90s fly-by-wire became a norm in civil aviation, enabling a whole avalanche of flying wing airliner ideas. If built, EKIP would likely make a full use of that.  

The fuselage and the efficiency 

Other claims about EKIP are just one claim with a selection of positive consequences. 

The aircraft is, for the most part, a thick flying wing. In this regard it is similar to many other flying wing or blended-wing-body (BWB) designs, proposed all over the world, including the Soviet Union, since the dawn of aviation. 

But being rather thick, the fuselage of the EKIP creates a lot of drag in comparison with regular aircraft. Much of that drag comes not from air resistance, but from uneven vortices formed behind the fuselage, where the air no longer can flow closely to it. As the vehicle moves forward, the flow of air is smooth and undisturbed at the front, but after passing the thick of the body it starts peeling off – boundary layer separates. Vortices are created there, with areas of uneven density, dragging the aircraft back. 

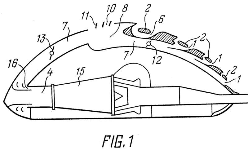
To prevent that, a device that would make the air flow undisturbed all around the fuselage has to be devised. Boundary layer control system, proposed by Schukin, is exactly that. In many simplistic depictions it is explained as an auxiliary engine that blasts air out of several strategically placed slots on the back of the aircraft, filling in the places where boundary layer of air separates. 

However, this description is not entirely correct. Schukin’s system does not fill in areas of less density, but creates small, controlled vortices, that act as a sort of boundary layer. Supposedly, with those vortices trapped in right places, the part of the drag that comes from boundary layer separation can be negated. 

If this is true, the EKIP could be more efficient than a flying wing without such system, and possibly – even than a regular aircraft. This efficiency would enable the use of other features: the air cushion, the spacious fuselage, the internally-placed engines, and so on. It would substantiate all the other claims such as safety and low fuel consumption.  

The whole idea of EKIP rests on that boundary layer control system. The question whether it would really make the aircraft that much more efficient becomes pivotal. 

While this question can be answered, the answer is not as straightforward as “yes” or “no”. It has much more to do with aviation industry and its economics than many engineers – Schukin included – would like it to.  

Kaspar wing 

But before that, let’s make one thing clear. Schukin was not the first one who had the idea to use trapped vortices. The phenomenon was first discovered by a German aeronautical engineer Witold Kasper in the early 1970s. Kasper – former Boeing employee and an avid gliding enthusiast – noticed that with his glider flying at particular angles of attack, and wing mechanization locked in particular configuration, the aircraft would seem to glide much better. 

That was because, supposedly, new vortices were created all along the wings, negating much of drag. Kasper would go on to construct and patent an aircraft that would make the best use of this phenomenon – the Kasper Wing. 

Much to the disappointment of the inventor, it did not turn out to be a great success. The Kasper Wing crashed several times in a row, and later researches, working of Kasper’s patent, were unable to replicate the effect. The engineer would go on to design several regular gliders later in his life. They retained the name, but the concept of trapped vortices was abandoned. 

Schukin may have heard of Kasper’s invention, or may have come up with his idea independently. But his use of trapped vortices was much more sophisticated than Kasper’s, and the fact that Schukin used them as a way to enable other cutting-edge technologies, makes it unique.  

But in an attempt to answer the question whether it would have worked, let’s turn to people with some first-hand knowledge of the idea. 

The experiments 

There is a gap in EKIP’s development, between first experiments in 1983 and resumption of the work in the late 80s. It is very difficult to tell what was happening with the project during those years – some say, it was worked on in secret, in conjunction with the Soviet military; others say that it was completely abandoned due to lack of interest.  

Nevertheless, it is possible to tell that at least Schukin did not forget his creation: during this time he was a frequent visitor at different Soviet universities and research institutions, presenting the idea of the wondrous EKIP there. 

During one visit to Moscow State University sometime in the 80s, his presentation was attended by Sergei Ivanovich Chernyshenko: a young researcher with a degree in fluid dynamics. 

Currently, Chernyshenko is a Professor in the Department of Aeronautics at Imperial College London. He remembers talking to Schukin after the presentation, discussing the issue of how difficult it is to design landing gear for very large aircraft, and that an air cushion could be a way to solve that. While many accounts describe Schukin’s decision to equip EKIP with a cushion as an issue of poor airport infrastructure in Russia, Chernyshenko’s account gives another angle to that. 

In subsequent years, despite conducting research in the same field, the paths of two scientists did not cross again. But Schukin’s research was constantly on Chernyshenko’s radar. In 2000 he left Russia and became a professor in the UK; in 2005, he took the position of the scientific coordinator at VortexCell2050: a project which united aerodynamics specialists from half a dozen of European universities over questions Schukin’s team tried to answer a decade earlier. 

The idea behind VortexCell2050 was also indicative of its time. Early 2000s saw a resurrection of the flying wing: Airbus was in the thick of designing one, Boeing just bought McDonnell Douglas and resumed work on their half-finished design.  

In an effort to boost European aviation sector, the European Commission funded a massive research project that could benefit some of those developments. Using trapped vortices for boundary layer control was one of the ways massive airliners of the future could be made more efficient, and Chernyshenko – one of leading aerodynamics specialists in Europe, with some indirect experience in similar projects – was the perfect man to lead it. 

He, and the whole team behind VortexCell2050, went to great lengths to acknowledge contributions of both Kaspar and Schukin to the idea. Nevertheless, they describe both Kaspar Wing and EKIP as “controversial”: in both cases, the most significant findings were not published, actual characteristics of aircraft were unknown, and academic community as a whole was rather skeptical towards both inventors.  

To test the idea of trapped vortices project’s participants had to start almost from the scratch, although at least some information about Schukin’s experiments was available from people who observed them firsthand.  

The project ended in 2009, with a massive amount of data gathered on the phenomenon of trapped vortices. It showed that such a system works, and in theory, it could make aircraft a lot more efficient. But in order to do that, some specific criteria have to be met. 

A question of size 

When AeroTime asked Chernyshenko for his opinion if the EKIP really had the potential to revolutionize aviation, his answer was not too optimistic. 

“The advantages and disadvantages of EKIP are very much like the advantages and disadvantages of regular bended-wing-body aircraft. If you look at Boeing or Airbus BWB designs – EKIP is basically that,” Chernyshenko said.  

And those aircraft have a big catch: if we want an efficient BWB design, we can’t make it small. Obviously, an aerodynamically perfect aircraft with a small frontal profile will always be superior to unaerodynamic aircraft with a large profile. Yet, if we are building a large aircraft, we can’t make that profile small, because we have to achieve a certain level of structural integrity. 

In other words, we can’t make large aircraft thin, at least without some impossibly strong materials. So, large aircraft have to be thick. In Chernyshenko’s words, if we are building big aircraft, we have to sacrifice aerodynamic perfection for structural perfection. 

In this case, a large flying wing – with an entirety of its surface dedicated to generating lifting power – becomes more efficient than regular tube-and-wing design, which has a fuselage that does not generate lift.  

This is the reason why all flying wing-like projects from the 90s and the 2000s were massive. The aircraft that were supposed to come out of Airbus VELA, Mcdonnell Douglas BWB-1 and Boeing X-48 projects would have dwarfed the current generation of wide-body airliners. 

EKIP sits in line with that. The absurdly large L3 and L4 models, drafted in the early 90s, were – in quite a counterintuitive way – a result of pragmatic thinking, and not at all a gigantomania of Schukin’s team. 

“This is at the core of the answer to the question, whether I believe in the efficiency of the EKIP. For the small aircraft – no. If the efficiency is interpreted as aerodynamic perfection – no, not at all. Because there are good reasons why small aircraft are built aerodynamic. But when it comes to consumption of fuel for very big aircraft, it changes a lot,” explains Chernyshenko. 

Those large aircraft are bound to be rather unaerodynamic, with a thick profile that provokes separation of the boundary layer of air. The boundary layer control system is an answer to that, and the disadvantages that it brings – the weight and the expense of operating the system – become outweighed by its advantages. Meanwhile, for small aircraft, much better solution for drag reduction is simply to make it more aerodynamic.  

Counting liters

According to the promotional material, presented by the EKIP team in 2001, all of their aircraft – no matter big or small – would consume 1.5 liters of jet fuel per passenger per 100 kilometers. On one hand, this number seems optimistic, but within the boundaries of reason. Boeing 737 MAX-8 consumes 2.1 liters per passenger per 100 km; Airbus A321neo – 2.4 liters.  

Large aircraft consume more. Boeing 747-400 burns 3.4 liters per passenger per 100 km; Airbus A380 –3.3 liters. Even the latest generation of hyper-efficient wide-body twinjets is not that much better: for both Boeing 787 and Airbus A350 this number sits between roughly 2.5 and 3 depending on the distance flown. 

On the other hand, we have to remember that the EKIP team did not calculate their passenger capacities properly. In all cases, they just divided the cargo capacity by 100 kilograms or less. This is why the fuel consumption per passenger should be taken with a grain of salt, and the maximum fuel capacity divided by maximum distance is a more reliable number.  

As explained above, for smaller EKIPs this number roughly corresponds with the current generation of regional jets, such as Embraer E195-E2. But for bigger EKIPs, the story is different. 

EKIP L3-2, as described in 2001, would be roughly comparable to Boeing 747. It would have a takeoff weight of 360 tons, cargo capacity of 120 tons, and a range of 5,000 kilometers. It was designed to have a capacity to carry 127 tons of fuel.  

Boeing 747-8F, the latest generation of the cargo-hauling Queen of the skies, has a cargo capacity of 138 tons and a range of 7,630 kilometers with 181 tons of fuel onboard. That would give it 42 kilometers for each kilogram of nominally carried fuel. For EKIP L3-2 this number is 39.  

So, while the efficiency of small EKIPs is roughly comparable to contemporary jets, larger EKIPs are somewhat more efficient. Unfortunately, there is not enough data to compare the largest models – the E-4 and the E4-2 – although the trend would, quite likely, continue. Being roughly twice heavier and larger than Boeing 747 or Airbus A380 those aircraft would likely be somewhat less efficient than them, but in comparison with regular configuration planes of their size, they would employ the boundary layer control system to the greatest effect. 

Valley of Death 

This feature of the EKIP is also at the core of program’s failure. As is well-known, small scale prototypes were produced; they flew, yet the data on their flight characteristics was not published. It is quite likely their fuel efficiency would not be better than that of regular jets. There is a good chance the EKIP E2-1 prototype, if it ever took off, would be even less fuel efficient than the Bombardier Learjet 60 whose engines it cannibalized – due to both larger weight and worse aerodynamic characteristics.  

Maybe it could have found its market thanks to its short takeoff and landing capability and the air cushion, but it is quite certain nobody would buy the small- and mid-range EKIPs for their fuel efficiency.  

To demonstrate the real benefits of their creation, Schukin’s team would have to build large aircraft. But those require large investments.  

“The Valley of Death problem. It is easy to get a small sum of money to build a small prototype. It is relatively easy to get large sum of money to build something very large. But to do that you have to get through the middle stage, and it is very difficult to get money for that,” Chernyshenko said.  

The problem is an often talked-about one, and has plagued many developments. Just recently, the new generation of lighter-than-air aircraft – airships – fell victim to it. Previously, it has killed many seemingly very promising technologies.  

But even if the valley could have been crossed, the EKIP would have encountered yet another problem. 

The economics

In the early 90s, when Schukin was outlining his EKIPs and their city-sized wingspans, large aircraft seemed like the way of the future. The era gave birth both to massive BWB design projects as well as regular superjumbos, such as Lockheed Martin VLST, Boeing NLA, and Airbus UHCA. Airbus were the only company that went through with their idea, putting the A380 into production. 

Others backed out; as it turned out, they were right: the market for superjumbos was small, unpredictable and without much hope for profit. The A380 was far from the bestseller Airbus hoped it to be, and is quite often classified as a failure.  

This realization creeped in in the late 2000s, when – a few years after A380’s introduction – customers began cancelling their orders one by one.  

The VortexCell2050 project, which was built on the premise of researching technologies that would benefit even larger generations of aircraft – the hyperjumbos of mid-21st century – ended not in a triumph, but in a whimper. It outlined directions for further research, but even before its end it was quite obvious that a follow-up is not exactly expected. 

“When our project was ending, I talked to people from Airbus, and there was that pessimistic feeling. They knew how to build large aircraft, but they had no intention of building them. I strongly suspect they were already realizing that those huge aircraft will have no market,” Chernyshenko explained. 

Boundary layer control systems with vortex cells worked. We can’t know if they worked for Schukin, but in general, with the right design, they could work. But to exploit them, one has to build a very large aircraft; and the world, at least currently, does not have a need for those. 

This is an answer not only to the question of EKIP’s wondrous properties, but to all the conspiracy theories that surround the aircraft: it is not a case of suppressed technology, it is a case of technology which is not really needed. Schukin’s patents expired in the early 2000s, and since the EKIP Aviation Concern no longer exists, nothing is preventing anybody – be it Boeing, Airbus, or a team of aviation enthusiasts working on the outskirts of their local airfield – from building another EKIP. There is simply no reason to do that.  

A sliver of hope

But the aviation market, in its long term, is not exactly predictable. While the superjumbos were dead by the 2010s, and the COVID-19 crisis dealt a huge blow to all wide-body aircraft, we can’t say for sure what the situation will be in a decade, or two, or five.  

There might one day actually be a reason to produce very large aircraft. A BWB design is the most efficient way such an aircraft can be built, and a thick flying wing design will eventually have to deal with boundary layer separation. There will be a need to solve this issue.  

“I would not be surprised if big companies, like Boeing or Airbus, would eventually take the technology that is demonstrated to work – this boundary layer control system – and add it to their existing BWB model, to extend the limit of what it can do,” Chernyshenko said.  

Of course, the result would not look like the EKIP: the saucer-like shape of Schukin’s creation would likely give way to more streamlined designs, and with proper airport infrastructure and advancements in landing gear technology, there would be little sense in making the aircraft carry a heavy air cushion system.  

Using some form of alternative fuel was one of the features of the EKIP, and there might be some merit to that idea. Both Boeing and Airbus are currently working on hydrogen-powered aircraft projects, and Chinese COMAC has started looking into it too. While a lot still has to be sorted out for liquid gas-powered airplanes to work, there is a chance flying wings of the future would resemble EKIP at least in this regard.  

Let’s not forget the engines. Through the whole development Schukin was talking of hyper-efficient turbofans, and while they never became a feature of the flying saucer, the high-bypass evolution was quietly happening in the background. When the development of the EKIP started in the late 70s, the Soviet Union was largely stuck with low-bypass Kuznetsov NK-8s, and even in the early 80s, some EKIP’s descriptions list it as the main engine for the project. In comparison with it, the current generation of similar turbofans use roughly one-third less fuel in cruise flight, a result which would have been on the verge of science fiction in the 80s. 

The fabled safety of the EKIP is also much less relevant in the current climate. Despite the sharp pre-COVID rise of air travel, the amount of accidents is decreasing, and in the end, a lot of small, procedural changes to the manufacturing, maintenance, and the use of aircraft increased the safety record a lot more than radical and not profit-friendly efforts, such as the introduction of completely different forms of vehicle, could ever do.

So, while the EKIP did not succeed, some of the innovative ideas that composed the aircraft found their way to life. Others will likely find it in the very near future, and while the most central ones – primarily, the boundary layer control system – may have to wait for decades to become relevant again, the contribution of Schukin can still find its way into aviation.

Now, if only it would be possible to explain all of that to the proponents of suppressed technology conspiracy theories.

Welcome aboard!
Let's personalize your AeroTime experience.
Get aviation news, exclusive interviews, and insights tailored to your need. Tell us what you do in aviation so we can make AeroTime work better for you.